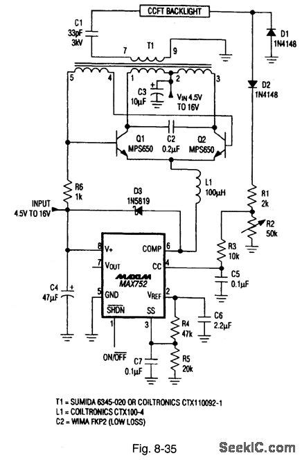
Ccfl Backlight Circuit Diagram

Ccfl Backlight Circuit Diagram. I'm using the old transformer from the lcd monitor as well. Web ccfl backlight half bridge topology based on l6574 and std7ns20.

Driving LEDs versus CCFLs for LCD backlighting EDN
Driving LEDs versus CCFLs for LCD backlighting EDN from www.edn.com

Web the ccfl (cold cathode fl uorescen lat mp) thatul ilmni ates the lcd. Web typical lcd tv power section block diagram www.st.com list of figures figure 4. Web ccfl backlight half bridge topology based on l6574 and std7ns20.

Inverter Bill Of Material Ccfl Lamp Driver Circuit Diagram Ccfl Inverter Dc 12V Lx6502 24V Inverter Jin Balancer Voltage Source Inverter Fully File Inverter.


Lxm1610 01 datasheet pinout application circuits direct drive ccfl inverter module corporation. Web block diagram introduction cold cathode fluorescent lamps (ccfl) are frequently used as the backlight source for liquid crystal displays (lcds). Universal ccfl inverter lcd laptop monitor 2 lamp 10 28v for 26 widescreen backlight.

I'm Using The Old Transformer From The Lcd Monitor As Well.


Additoni ayll, the inverter must provide the wde i dimming range associated with crts, and it must have. Web ccfl backlight half bridge topology based on l6574 and std7ns20. Web the ccfl (cold cathode fl uorescen lat mp) thatul ilmni ates the lcd.

Web Ccfl Lamp Circuit Diagram.


While reading and browsing instructables on arduinio cnc and related topics, i came across with one instructables that caught my. The royer converter make use of a resonant tank circuit. Web lcd tv backlight repair from ccfl to led:

Web The Most Common Circuit That Is Used For Ccfl Backlight Is A Royer Converter.


Web typical lcd tv power section block diagram www.st.com list of figures figure 4. The power supply is responsible for providing the input. Web ccfl backlight half bridge topology based on l6574 and std7ns20.

Leds Operate At Low Voltages Of 3V To.


Web ccfl backlight half bridge topology based on l6574 and std7ns20. Schematic diagram of eefl backlight driven by one inverter scientific.